Fog Crosscenter
Forsiden
Om
Webshop
Reservedelskatalog
Min konto
Log ind
Registrér
Forsiden
Reservedelskatalog
Suzuki
OFFROAD
1992
RM80N
REAR MASTER CYLINDER (MODEL M/N/P/R/S
FIG.41A
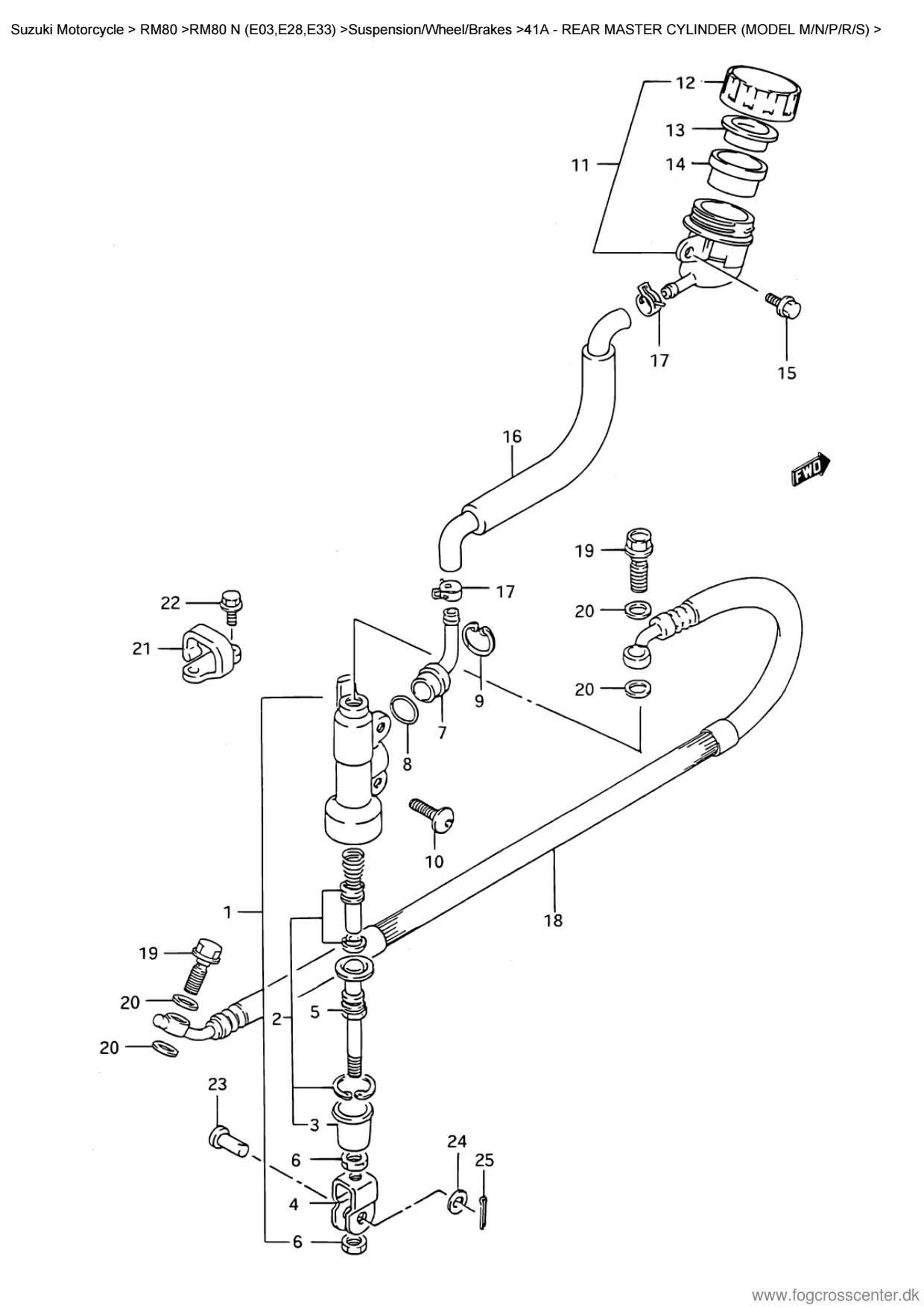
No
Part. NO
Beskrivelse
Pris
1
69600-02B40-000
CYLINDER ASSY,REAR MASTER
1.991,25 kr.
2
69600-04820-000
PISTON/CUP SET
303,75 kr.
3
69691-00A00-000
BOOT
62,50 kr.
4
69692-00B21-000
YOKE
187,50 kr.
5
69670-27A30-000
ROD,PUSH
187,50 kr.
6
69693-05A00-000
NUT,MASTER CYLINDER
25,00 kr.
7
69672-00B20-000
CONNECTOR
71,25 kr.
8
69686-34200-000
O RING, Conewctor
48,75 kr.
9
69674-00B20-000
CIRCLIP
46,25 kr.
10
09139-06030-000
SCREW
40,00 kr.
11
69740-03D10-000
TANK ASSY,REAR BRAKE RESERVOIR
760,00 kr.
12
69669-03D10-000
CAP
162,50 kr.
13
69668-00B20-000
PLATE
63,75 kr.
14
69667-00B20-000
DIAPHRAGM
135,00 kr.
15
01547-06127-000
BOLT 6X12
20,00 kr.
16
69731-02B50-000
HOSE,RESERVOIR TANK
215,00 kr.
17
69735-00B20-000
CLAMP,RESERVOIR HOSE
46,25 kr.
18
69480-02B41-000
HOSE COMP,REAR BRAKE
776,25 kr.
19
09360-10017-000
UNION
56,25 kr.
20
09161-10009-000
WASHER,10X15X1.5
21,25 kr.
21
61196-00B21-000
GUIDE,RR BRAKE HOSE
91,25 kr.
22
09125-05042-000
SCREW
22,50 kr.
23
09200-08048-000
PIN
32,50 kr.
24
09160-08074-000
WASHER 8.5X13X1.6
16,25 kr.
25
04111-20158-000
PIN,RR MASTER CYLINDER COTTER
8,75 kr.