Fog Crosscenter
Forsiden
Om
Webshop
Reservedelskatalog
Min konto
Log ind
Registrér
Forsiden
Reservedelskatalog
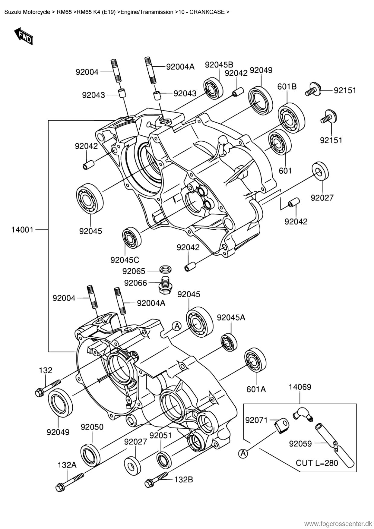
Suzuki
OFFROAD
2004
RM65K4
CRANKCASE
FIG.10
No
Part. NO
Beskrivelse
Pris